butées d'amortisseurs avant.

ici tout ce qui est relatif aux trains roulants, suspension, roulements, freins

Modérateur : Modérateurs

Répondre
Avatar du membre
poudzy
Régulier
Régulier
Messages : 627
Enregistré le : lundi 27 mai - 21:04
Localisation : 74 Lac Leman

butées d'amortisseurs avant.

Message par poudzy »

salut,
je viens de changer mes amortos pour causes de bruits suspects non identifie,je confirme que des amortos rincés ça peux émettre des sons bizarre ,j'ai remonté le tout en attendant .
par contre je galére un peux pour trouver les butées caoutchoucs avants Yellow_Flash_Colorz_PDT_22
quelqu’un aurait une astuce par hasard? peut être les modèles pour golf1 ..
merci
raf.
Avatar du membre
Seb589
Habitué
Habitué
Messages : 1950
Enregistré le : jeudi 14 juil. - 12:27
Localisation : 92-61

Re: butées d'amortisseurs avant.

Message par Seb589 »

Van quality parts peut etre
T3 1,9 tdi-e de 1985
viewtopic.php?f=18&t=89942
Avatar du membre
poudzy
Régulier
Régulier
Messages : 627
Enregistré le : lundi 27 mai - 21:04
Localisation : 74 Lac Leman

Re: butées d'amortisseurs avant.

Message par poudzy »

Je viens de regarder ,y ´a pas Yellow_Flash_Colorz_PDT_26

Édit: en fait y’avait ,Mais sous un autre nom et la pièce était complète et j'étais aussi fatigué de mon après midi sous le camion ,et le punch de mon voisin a aussi dû laisser quelques trace :06:
Modifié en dernier par poudzy le vendredi 03 juil. - 23:09, modifié 1 fois.
Avatar du membre
DavCox38
Membre Actif
Membre Actif
Messages : 2938
Enregistré le : dimanche 21 nov. - 10:20
Localisation : 01 - Beynost

Re: butées d'amortisseurs avant.

Message par DavCox38 »

Tu parles de quoi exactement ? Pour moi y'a des butées qu'à l'arrière.
Notre Popo : westy 82 2LCU
Image
Avatar du membre
poudzy
Régulier
Régulier
Messages : 627
Enregistré le : lundi 27 mai - 21:04
Localisation : 74 Lac Leman

Re: butées d'amortisseurs avant.

Message par poudzy »

DavCox38 a écrit : vendredi 03 juil. - 21:51 Tu parles de quoi exactement ? Pour moi y'a des butées qu'à l'arrière.
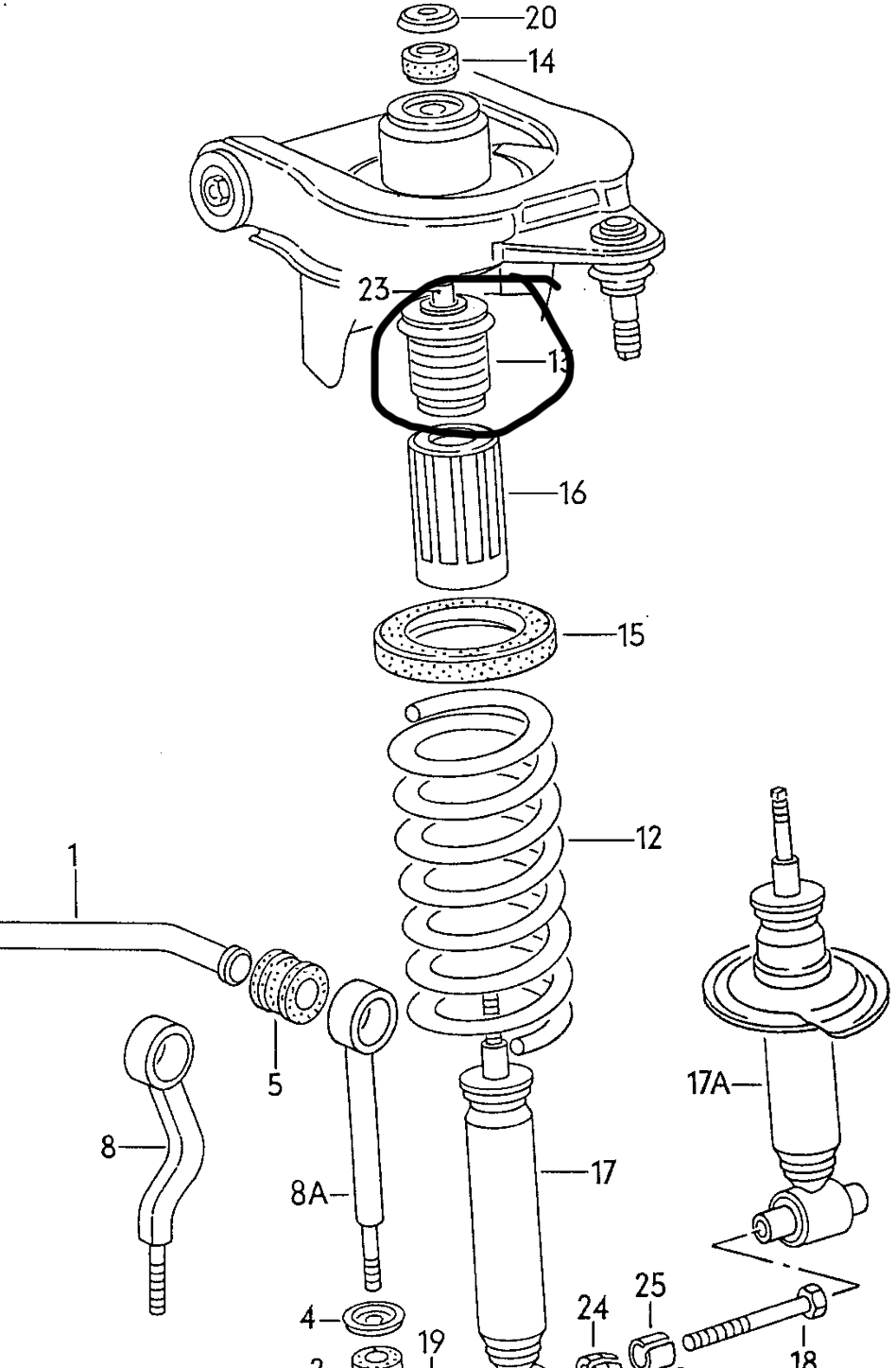
Le numéro 13 ,elle est inséré sur le cache en plastoc,
Ça peut être aussi une butée de tige d’amortisseur apparement :06:
Fichiers joints
F1115659-10EE-41FA-9F83-CF80B176E15D.jpeg
F1115659-10EE-41FA-9F83-CF80B176E15D.jpeg (387.23 Kio) Vu 3195 fois
Avatar du membre
tomatich
Membre d'Honneur
Membre d'Honneur
Messages : 8595
Enregistré le : mercredi 19 oct. - 22:07
Localisation : 84 - Nord Vaucluse

Re: butées d'amortisseurs avant.

Message par tomatich »

Il ne faut pas chercher à ajouter des années à sa vie, mais plutôt essayer de rajouter de la vie à ses années. O. Wilde
Mon Syncro 2.1 MV
Avatar du membre
poudzy
Régulier
Régulier
Messages : 627
Enregistré le : lundi 27 mai - 21:04
Localisation : 74 Lac Leman

Re: butées d'amortisseurs avant.

Message par poudzy »

Au top ! Je vais contacter le 1 er,
C’est dingue le nombre de nom utilisé pour ce truc ,ressort d’appoint,butée d’appoint,tube de protection de tête d’amortisseur .....avec la réf ça va être royal Yellow_Flash_Colorz_PDT_12
Avatar du membre
poudzy
Régulier
Régulier
Messages : 627
Enregistré le : lundi 27 mai - 21:04
Localisation : 74 Lac Leman

Re: butées d'amortisseurs avant.

Message par poudzy »

Ça y’est Je suis tiré d’affaire ,merci :(;:
Avatar du membre
tomatich
Membre d'Honneur
Membre d'Honneur
Messages : 8595
Enregistré le : mercredi 19 oct. - 22:07
Localisation : 84 - Nord Vaucluse

Re: butées d'amortisseurs avant.

Message par tomatich »

Avec plaisir :smile:
Il ne faut pas chercher à ajouter des années à sa vie, mais plutôt essayer de rajouter de la vie à ses années. O. Wilde
Mon Syncro 2.1 MV
Avatar du membre
Seb589
Habitué
Habitué
Messages : 1950
Enregistré le : jeudi 14 juil. - 12:27
Localisation : 92-61

Re: butées d'amortisseurs avant.

Message par Seb589 »

J'arrive trop tard visiblement
Mais j'ai acheté les miens chez VQP
T3 1,9 tdi-e de 1985
viewtopic.php?f=18&t=89942
Avatar du membre
poudzy
Régulier
Régulier
Messages : 627
Enregistré le : lundi 27 mai - 21:04
Localisation : 74 Lac Leman

Re: butées d'amortisseurs avant.

Message par poudzy »

J ai vu après coup ,j’ai finalement commandé hier soir chez eux aussi avec la réf du lien à tomatich ,voilà la désignation chez VQP, Tube complet de protection d'amortisseur avant
Répondre