Silent bloc triangle supperieur
Modérateur : Modérateurs
Re: Silent bloc triangle supperieur
La sardine question lub essaye la vaseline sur les gros trucs en caoutchouc c'est mieux que la cire 
- Zegibon
- Régulier

- Messages : 689
- Enregistré le : dimanche 13 juil. - 17:48
- Localisation : 31370 - rieumes
Re: Silent bloc triangle supperieur
Je comprend mais j ai jamais utilisé de cire en mécanique.
T3 syncro double cab.1.6 TD
http://t3zone.fr/viewtopic.php?t=35230& ... highlight=
Rénovation doka
viewtopic.php?t=64659&postdays=0&postorder=asc&start=0
http://www.youtube.com/watch?v=KD4pY2Coa94
http://t3zone.fr/viewtopic.php?t=35230& ... highlight=
Rénovation doka
viewtopic.php?t=64659&postdays=0&postorder=asc&start=0
http://www.youtube.com/watch?v=KD4pY2Coa94
- la_sardine
- Membre d'Honneur

- Messages : 7893
- Enregistré le : mercredi 10 oct. - 19:44
- Localisation : 13 - Le Rove
Re: Silent bloc triangle supperieur
Moi non plus. Je l'utilise pour la lubrification de ma chaine de vélo. Ca évite qu'elle noircisse et c'est plus efficace que de la graisse traditionnelle.Zegibon a écrit : ↑lundi 05 avr. - 9:39Je comprend mais j ai jamais utilisé de cire en mécanique.
Après sur des silent bloc je ne sais pas ce que ça donne.
J'en ai en aérosol, je vais essayer et je vous dirais ça. Mais pas tout de suite parceque pour changer la boite a le cul en l'air
- la_sardine
- Membre d'Honneur

- Messages : 7893
- Enregistré le : mercredi 10 oct. - 19:44
- Localisation : 13 - Le Rove
Re: Silent bloc triangle supperieur
J'ai un gros truc mais il n'est pas en cahoutchou...
- la_sardine
- Membre d'Honneur

- Messages : 7893
- Enregistré le : mercredi 10 oct. - 19:44
- Localisation : 13 - Le Rove
-
thiery D
- Membre Actif

- Messages : 3961
- Enregistré le : samedi 25 nov. - 8:38
- Localisation : 13 - Aubagne France
- Contact :
Re: Silent bloc triangle supperieur
le plastic c'est fantastic le caoutchouc super doux ..............................
Modifié en dernier par thiery D le samedi 12 juin - 18:14, modifié 1 fois.
- Zav
- Occasionnel

- Messages : 273
- Enregistré le : mercredi 10 août - 8:53
- Localisation : 13- Salon de Pvce
Re: Silent bloc triangle supperieur
Je suis également intéressé du retour sur la tenue. j'ai acheté les graisseurs coudés chez alimachin (l'accessibilité sera plus adaptée qu'avec des droits il me semble), mais pas encore reçus. Je prévois ça le jour ou je refais mes trains avant...
TDI-e Inside
...... ___________
...../____________\
....// ____//[__][__]\\
..|o...................-_...o)
...`(_)------------(_)--'
Le mien
...... ___________
...../____________\
....// ____//[__][__]\\
..|o...................-_...o)
...`(_)------------(_)--'
Le mien
- S4WY3R
- Régulier

- Messages : 622
- Enregistré le : vendredi 06 sept. - 19:37
- Localisation : 82 - SEPTFONDS
Re: Silent bloc triangle supperieur
Salut,
À défaut de graisseurs coudés, il existe l'embout de flexible de pompe à graisse coudé.
En ce qui concerne la cire, à tester, c'est vrai que c'est neutre et ça tient bien dans le temps. Idéal pour les chaînes de vélo, même quand il pleut, parole de vttiste
À défaut de graisseurs coudés, il existe l'embout de flexible de pompe à graisse coudé.
En ce qui concerne la cire, à tester, c'est vrai que c'est neutre et ça tient bien dans le temps. Idéal pour les chaînes de vélo, même quand il pleut, parole de vttiste
- nomansland
- Régulier

- Messages : 719
- Enregistré le : lundi 21 mai - 9:44
- Localisation : 77250 VILLEMER
Re: Silent bloc triangle supperieur
Salut ; Excellent sujet de KUB !
Mais as-tu trouvé une parade aux pièces refabriquées ?
Je suis tombé sur le mème constat .. les pièces neuves sont déjà nazes !! . viewtopic.php?f=81&t=99306
Dans les limites de mes capacités , je pourrais juste remplacer cette pièce en plastoc par une bague en bronze !! A moins que ton système de graissage soit pérenne et efficace !!?? Quel type de graisse te semble le mieux approprié ? Il n'est peut-etre pas nécessaire de poser des graisseurs , mais juste un trou et ensuite obturer avec une bague en cahout !!?
a+Stef
Mais as-tu trouvé une parade aux pièces refabriquées ?
Je suis tombé sur le mème constat .. les pièces neuves sont déjà nazes !! . viewtopic.php?f=81&t=99306
Dans les limites de mes capacités , je pourrais juste remplacer cette pièce en plastoc par une bague en bronze !! A moins que ton système de graissage soit pérenne et efficace !!?? Quel type de graisse te semble le mieux approprié ? Il n'est peut-etre pas nécessaire de poser des graisseurs , mais juste un trou et ensuite obturer avec une bague en cahout !!?
a+Stef
- Edlap01
- P'tit Nouveau

- Messages : 112
- Enregistré le : dimanche 02 août - 9:57
- Localisation : Country of gex
Re: Silent bloc triangle supperieur
Désolé pour la réponse tardive.
J'ai percé et taraudé dans le palier directement ça tient avec une pointe de loctite.
J'ai pris des graisseurs coudés car pour graisser une fois montée c'est plus facile.
Pour l'instant ça marche très bien et ça les ne fais plus du tout de bruit et les triangles on peut les bouger à la main.
dicton mécanicien: "j'aime les vieilles"
- Edlap01
- P'tit Nouveau

- Messages : 112
- Enregistré le : dimanche 02 août - 9:57
- Localisation : Country of gex
Re: Silent bloc triangle supperieur
En définitive il faut pas mal de pression pour que le lubrifiant passe dans le palier complètement donc la pompe est indispensable et de ce fait les graisseurs aussi...nomansland a écrit : ↑samedi 12 juin - 16:39 Salut ; Excellent sujet de KUB !
Mais as-tu trouvé une parade aux pièces refabriquées ?
Je suis tombé sur le mème constat .. les pièces neuves sont déjà nazes !! . viewtopic.php?f=81&t=99306
Dans les limites de mes capacités , je pourrais juste remplacer cette pièce en plastoc par une bague en bronze !! A moins que ton système de graissage soit pérenne et efficace !!?? Quel type de graisse te semble le mieux approprié ? Il n'est peut-etre pas nécessaire de poser des graisseurs , mais juste un trou et ensuite obturer avec une bague en cahout !!?
a+Stef
dicton mécanicien: "j'aime les vieilles"
- nomansland
- Régulier

- Messages : 719
- Enregistré le : lundi 21 mai - 9:44
- Localisation : 77250 VILLEMER
Re: Silent bloc triangle supperieur
J'ai du en injecter assez avec ma seringue en tournant la bague , puisque les rotations se font sans bruit et dans "le feutré" ; Après un essais cet aprèm , plus de couinements .Edlap01 a écrit : ↑dimanche 13 juin - 14:54En définitive il faut pas mal de pression pour que le lubrifiant passe dans le palier complètement donc la pompe est indispensable et de ce fait les graisseurs aussi...nomansland a écrit : ↑samedi 12 juin - 16:39 Salut ; Excellent sujet de KUB !
Mais as-tu trouvé une parade aux pièces refabriquées ?
Je suis tombé sur le mème constat .. les pièces neuves sont déjà nazes !! . viewtopic.php?f=81&t=99306
Dans les limites de mes capacités , je pourrais juste remplacer cette pièce en plastoc par une bague en bronze !! A moins que ton système de graissage soit pérenne et efficace !!?? Quel type de graisse te semble le mieux approprié ? Il n'est peut-etre pas nécessaire de poser des graisseurs , mais juste un trou et ensuite obturer avec une bague en cahout !!?
a+Stef
a+Stef
Re: Silent bloc triangle supperieur
Modif faite cette après midi ,avec des graisseurs droits ,au top
j’ai ajouté une rondelle d’étanchéité en cuivre sous les graisseurs ,comme ça serrage du graisseur à bloc sans trop de dépassement à l’intérieur.
Mon vw à grenouilles =http://t3zone.fr/viewtopic.php?t=70464
Ma musique = https://www.youtube.com/channel/UC4tv3z ... MEqatiJK7g
Ma musique = https://www.youtube.com/channel/UC4tv3z ... MEqatiJK7g
- zygpapa
- conseiller mecaELEK

- Messages : 8532
- Enregistré le : vendredi 25 mai - 11:01
- Localisation : Espagne/Portugal/Maroc/Landes, selon la température
Re: Silent bloc triangle supperieur
C'est bien beau de graisser, mais qui sait que la largeur du triangle et ses paliers métal caoutchouc est variable et peut être corrigée pour que les paliers viennent en appui pile poil sur les excentriques? Car si jeu, le serrage met en contrainte la pièce mobile interne avec réduction drastique de la durée de vie de la chose.
- nomansland
- Régulier

- Messages : 719
- Enregistré le : lundi 21 mai - 9:44
- Localisation : 77250 VILLEMER
Re: Silent bloc triangle supperieur
Salut ; C'est pour cette raison que les modèles d'origine (qui ne sont plus fournis!)étaient de vrais silent-bloc en caoutchouc , étaient tout de mème beaucoup mieux !!zygpapa a écrit : ↑lundi 26 juil. - 8:50 C'est bien beau de graisser, mais qui sait que la largeur du triangle et ses paliers métal caoutchouc est variable et peut être corrigée pour que les paliers viennent en appui pile poil sur les excentriques? Car si jeu, le serrage met en contrainte la pièce mobile interne avec réduction drastique de la durée de vie de la chose.
a+Stef
- zygpapa
- conseiller mecaELEK

- Messages : 8532
- Enregistré le : vendredi 25 mai - 11:01
- Localisation : Espagne/Portugal/Maroc/Landes, selon la température
Re: Silent bloc triangle supperieur
Effectivement, j'en avais coupés toute une série en deux pour voir dedans, les photos doivent encore être dans un sujet par ici. Ou par là?
Monsieur Vw nomme ces pièces paliers métal caoutchouc, et dans son cas c'est la corrosion intérieure qui vient à bout du caoutchouc par effet d'abrasion.
La bague plastique, téflon?, avec sa fonction auto-lubrifiante est un plus si bien conçue.
Regardant mes archives, les Febi d'époque étaient aussi 100% caoutchouc.
Plus maintenant.
D'ailleurs il faudrait ouvrir les derniers Vw montés pour voir si la modif ne fut pas faite.
Dire que j'ai jeté les miens.
Dans tout les cas le réglage de l'écartement du triangle ne peut qu'être une bonne chose.
Monsieur Vw nomme ces pièces paliers métal caoutchouc, et dans son cas c'est la corrosion intérieure qui vient à bout du caoutchouc par effet d'abrasion.
La bague plastique, téflon?, avec sa fonction auto-lubrifiante est un plus si bien conçue.
Regardant mes archives, les Febi d'époque étaient aussi 100% caoutchouc.
Plus maintenant.
D'ailleurs il faudrait ouvrir les derniers Vw montés pour voir si la modif ne fut pas faite.
Dire que j'ai jeté les miens.
Dans tout les cas le réglage de l'écartement du triangle ne peut qu'être une bonne chose.
- zygpapa
- conseiller mecaELEK

- Messages : 8532
- Enregistré le : vendredi 25 mai - 11:01
- Localisation : Espagne/Portugal/Maroc/Landes, selon la température
Re: Silent bloc triangle supperieur
La doc gowest est en page deux.... Ça craint de vieillir
Re: Silent bloc triangle supperieur
Salut,
Pour ne pas ouvrir un nouveau sujet et regrouper toutes les connaissances sur ce sujet, je pose mes questions ici.
Je prépare le changement de ces silent blocs par des powerflex. Je n'ai encore rien démonté (J'avais pas la clé 6 pans suffisamment grosse pour la vis
).
J'ai vu qu'il y a des rondelles asymétriques pour régler l'écartement. Comment ça se règle ce truc? Il faut mettre la vis qui porte ces rondelles dans une position de rotation particulière pour obtenir un jeu particulier? Ou on tourne pour que les rondelles touchent des 2 côtés? J'ai pas trouvé d'infos dans la RTA.
Et j'ai aussi vu que les paliers doivent êtres immobilisés par des points de soudure (vu dans la RTA). Est-ce que ça s'applique aussi aux powerflex? Ces paliers ont l'air genre inox, donc je pense pas que ça se soude sur la ferraille si?
Merci
Pour ne pas ouvrir un nouveau sujet et regrouper toutes les connaissances sur ce sujet, je pose mes questions ici.
Je prépare le changement de ces silent blocs par des powerflex. Je n'ai encore rien démonté (J'avais pas la clé 6 pans suffisamment grosse pour la vis
J'ai vu qu'il y a des rondelles asymétriques pour régler l'écartement. Comment ça se règle ce truc? Il faut mettre la vis qui porte ces rondelles dans une position de rotation particulière pour obtenir un jeu particulier? Ou on tourne pour que les rondelles touchent des 2 côtés? J'ai pas trouvé d'infos dans la RTA.
Et j'ai aussi vu que les paliers doivent êtres immobilisés par des points de soudure (vu dans la RTA). Est-ce que ça s'applique aussi aux powerflex? Ces paliers ont l'air genre inox, donc je pense pas que ça se soude sur la ferraille si?
Merci
-
thiery D
- Membre Actif

- Messages : 3961
- Enregistré le : samedi 25 nov. - 8:38
- Localisation : 13 - Aubagne France
- Contact :
Re: Silent bloc triangle supperieur
faut repérer au démontage et remettre au même endroit sinon le carrossage sera a régler
l'acier inox se soude sur l'acier normal
l'acier inox se soude sur l'acier normal
Re: Silent bloc triangle supperieur
Salut, merci pour ta réponse.
Ce réglage intervient dans le carrossage? C'est pas dans le bon sens si? Les vis sont dans ma longueur du camion à cet endroit, c'est pour ça que je ne pensais pas à ça. (Comme tu vois je suis pas expert carrossage!)
Je pensais que c'était juste pour régler un jeu pour prendre en compte l'épaisseur des silent bloc ou autre.
- nomansland
- Régulier

- Messages : 719
- Enregistré le : lundi 21 mai - 9:44
- Localisation : 77250 VILLEMER
Re: Silent bloc triangle supperieur
ugums31 a écrit : ↑mardi 23 nov. - 12:22Salut, merci pour ta réponse.
Ce réglage intervient dans le carrossage? C'est pas dans le bon sens si? Les vis sont dans ma longueur du camion à cet endroit, c'est pour ça que je ne pensais pas à ça. (Comme tu vois je suis pas expert carrossage!)
Je pensais que c'était juste pour régler un jeu pour prendre en compte l'épaisseur des silent bloc ou autre.
Salut , Il serait tout de mème préférable de vérifier la géométrie !!
moi j'ai ça : viewtopic.php?t=99810
a+Stef
-
thiery D
- Membre Actif

- Messages : 3961
- Enregistré le : samedi 25 nov. - 8:38
- Localisation : 13 - Aubagne France
- Contact :
Re: Silent bloc triangle supperieur
le carrossage est l'inclinaison de la roue dans le sens de roulage
la chasse est l'inclinaison du pivot (av/ar)
et le parallélisme est l'ouverture / fermeture du train
la chasse est l'inclinaison du pivot (av/ar)
et le parallélisme est l'ouverture / fermeture du train
Re: Silent bloc triangle supperieur
J'e pense bien aller faire re-régler tout ça après par des gens qui ont les compétences et matos. Quand j'ai acheté le T3 il y a 4 ans, il avait les pneus avant usées à l'intérieur. je les ai changé et faire refaire la géo, mais ça revient. Apparemment ils en avaient chié pour le réglage qui ne restait pas stable. Peut-être à cause de certains silent blocs je me dis maintenant. Et comme au CT ils m'ont conseillé de changer ce silent bloc, peut-être qu'il faut vraiment le faire :) !
Par contre, du coup, je ne vois toujours pas le lien entre cette vis et le carrossage?
Je parle bien de la longue vis qui rentre dans les silent bloc du triangle supérieur, qui relie les 2 bras du U à la carrosserie. Ces vis sont parallèles à la roue, du coup je comprends pas bien leur impact sur le carrossage et surtout celui des rondelles qui sont sur la vis à l'intérieur du U? Lors du réglage du carrossage, ils agissent sur cette vis?
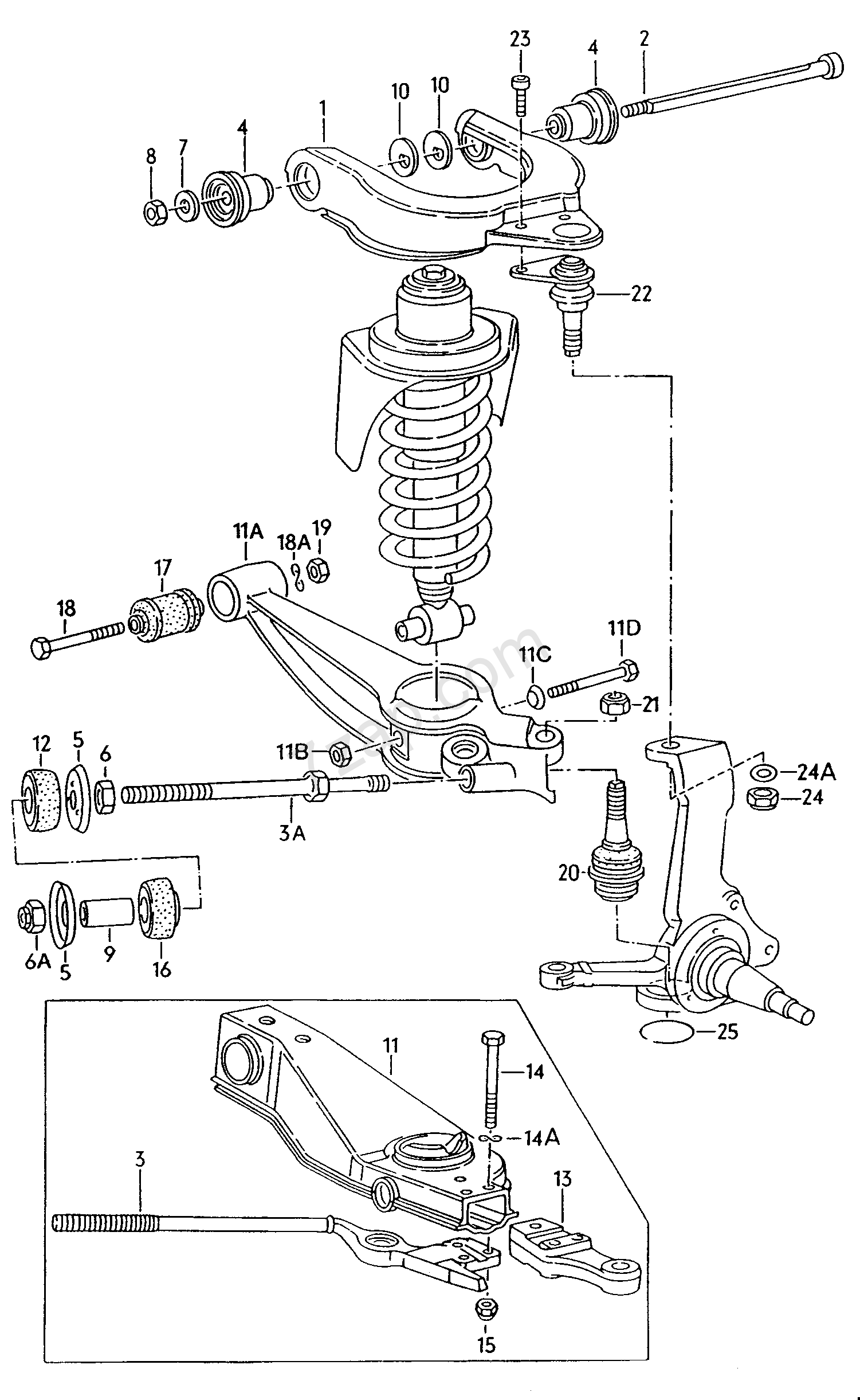
(Vis 2 sur ce schéma) merci de cet échange.
Re: Silent bloc triangle supperieur
Adiou
Je suis passé au powerflex y a quelques mois
La vis 2 à un méplat tout le long les rondelles 10 aussi
Tu agis sur la vis ça bouge le carrossage et tu bloques en position via l écrou 8
Réglage au niveau de maçon en provisoire puis chez le mécano pour faire ça bien
J ai mis le point de soudure aussi sans problème
Attention à la vis 2!
Des fois elle grippe dans les douilles des Silentblocs
Ou si un bourrin a forcé comme un âne les rondelles 10 se bloquent dessus et tu peux plus l enlever
Et c est pas gagné , l accès est très compliqué, l acier hyper dur!
Donc tu bloques la vis tu enlèves l écrou 8 (l inverse marche pas!)
Et tu sers les fesses pour que ca sorte en tirant dessus dans l axe
A+
Je suis passé au powerflex y a quelques mois
La vis 2 à un méplat tout le long les rondelles 10 aussi
Tu agis sur la vis ça bouge le carrossage et tu bloques en position via l écrou 8
Réglage au niveau de maçon en provisoire puis chez le mécano pour faire ça bien
J ai mis le point de soudure aussi sans problème
Attention à la vis 2!
Des fois elle grippe dans les douilles des Silentblocs
Ou si un bourrin a forcé comme un âne les rondelles 10 se bloquent dessus et tu peux plus l enlever
Et c est pas gagné , l accès est très compliqué, l acier hyper dur!
Donc tu bloques la vis tu enlèves l écrou 8 (l inverse marche pas!)
Et tu sers les fesses pour que ca sorte en tirant dessus dans l axe
A+
- shocker
- Membre Actif

- Messages : 2005
- Enregistré le : mercredi 04 nov. - 19:56
- Localisation : 17 - La rochelle
Re: Silent bloc triangle supperieur
Salut à tous,
J'apporte mon vécu au sujet du démontage des silent blocs de triangle sup.
Je m'attendais à galérer et finalement j'ai trouvé une solution plutôt pratique :
Un profilé bien costaud en acier avec un trou placé en dessous, une poignée de bouteille de gaz 13 kg bricolée, une vis de culasse à pas fin avec son écrou et sa rondelle, une clé à choc...La photo n'est pas terrible...
Quelques secondes et hop !
Ca fait "clang clang" comme à la presse et je précise que c'était pas mal rouillé.
J'apporte mon vécu au sujet du démontage des silent blocs de triangle sup.
Je m'attendais à galérer et finalement j'ai trouvé une solution plutôt pratique :
Un profilé bien costaud en acier avec un trou placé en dessous, une poignée de bouteille de gaz 13 kg bricolée, une vis de culasse à pas fin avec son écrou et sa rondelle, une clé à choc...La photo n'est pas terrible...
Quelques secondes et hop !
Ca fait "clang clang" comme à la presse et je précise que c'était pas mal rouillé.
Modifié en dernier par shocker le dimanche 28 nov. - 11:55, modifié 3 fois.
T3 de 1986 avec moteur 2100 wbx DJ, direction assistée
Re: Silent bloc triangle supperieur
Ah oui sacré installation!
Tu veux dire qu'il ne suffit pas de taper dessus pour les faire sortir?!
Tu veux dire qu'il ne suffit pas de taper dessus pour les faire sortir?!
-
thiery D
- Membre Actif

- Messages : 3961
- Enregistré le : samedi 25 nov. - 8:38
- Localisation : 13 - Aubagne France
- Contact :
Re: Silent bloc triangle supperieur
ben non ...

- jeanluc3131
- Membre Actif

- Messages : 4534
- Enregistré le : samedi 24 juin - 7:35
- Localisation : 31340
Re: Silent bloc triangle supperieur
Ou alors avec une masse a plume
C est se que je te disait l hors du changement de durite certain silentbloc c est le bordel et faux être un minima ++++ équiper ou avoir un peu ingéniosité
En tout cas sympa se partage ça donne des idées Merci
T3 1835 CT viewtopic.php?t=103344
Groupe FB T3-T2 VW vent de liberté et de fraternité
Entre Passionné(e)s T1 T2 T3 dans l'esprit VW
Aircooled,Refroidissement Liquide, Diesel
Mon Camtar viewtopic.php?f=18&t=91444&hilit=jeanluc3131
Groupe FB T3-T2 VW vent de liberté et de fraternité
Entre Passionné(e)s T1 T2 T3 dans l'esprit VW
Aircooled,Refroidissement Liquide, Diesel
Mon Camtar viewtopic.php?f=18&t=91444&hilit=jeanluc3131
- shocker
- Membre Actif

- Messages : 2005
- Enregistré le : mercredi 04 nov. - 19:56
- Localisation : 17 - La rochelle
Re: Silent bloc triangle supperieur
Quelques photos plus visibles du montage : il y a une encoche dans la poignée de la bouteille de gaz pour se positionner sur le triangle.
- Fichiers joints
-
- 20211128_121605_resized.jpg (134.77 Kio) Vu 5466 fois
-
- 20211128_121416_resized.jpg (116.85 Kio) Vu 5466 fois
-
- 20211128_121126_resized.jpg (124.23 Kio) Vu 5466 fois
T3 de 1986 avec moteur 2100 wbx DJ, direction assistée
